[Prev] [Next] [Contents] [Commodore] [Home]

C64 CIRCUIT THEORY

There are three versions of the C64. The C64 with five pin connector video output (326106). The C64 with an eight pin connector video output (251138), and the C64B which has improved system clock circuit design (251469). Most circuit theory explanations will be the same for all three versions. Refer to schematic 326106 unless noted otherwise.
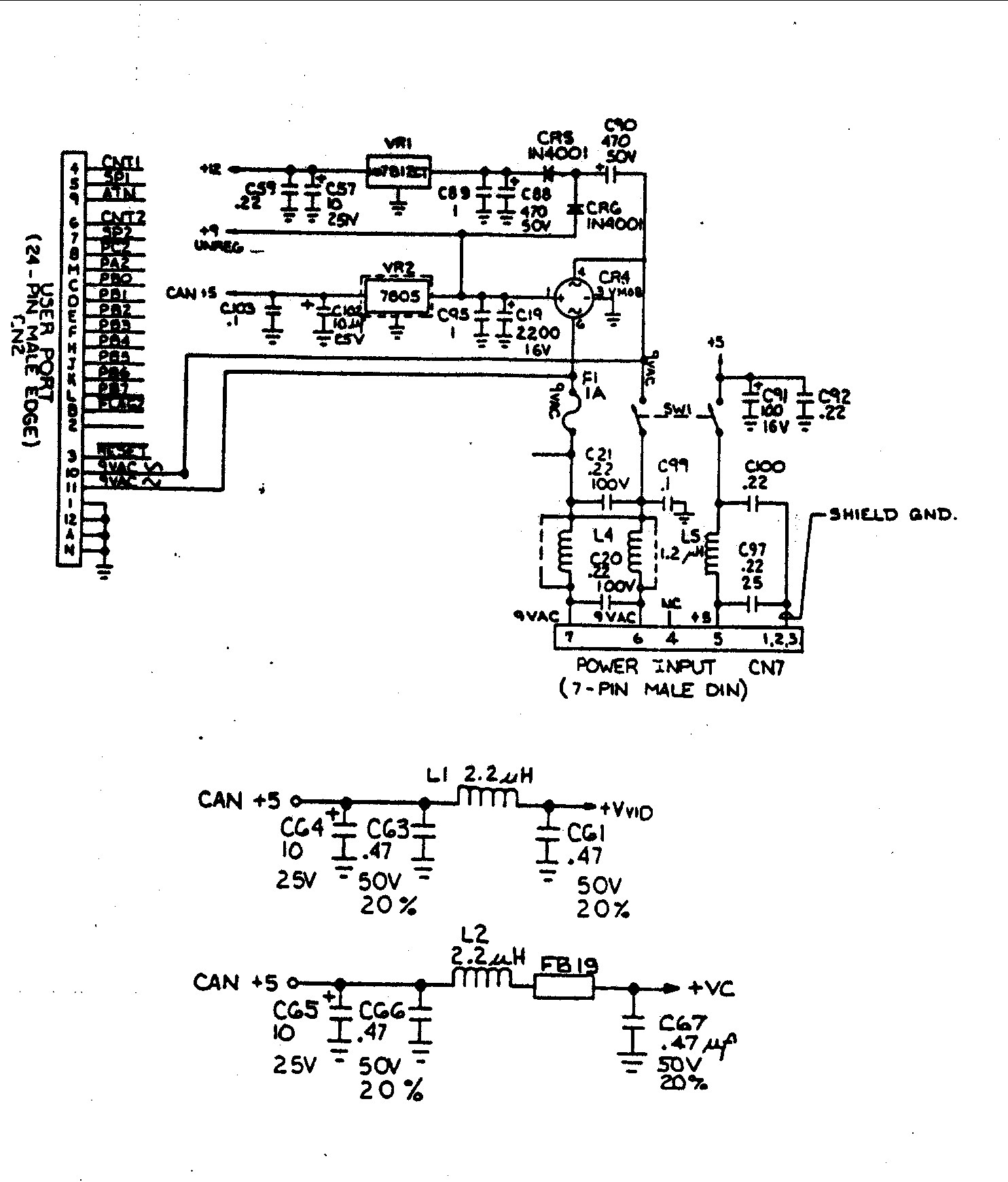
[Power Supply schematic]
The Power Supply
The external power supply generates a regulated 5VDC and 9VAC. 5VDC is applied to pins 5 and 1 of CN7 on the C64 pcb. Filtered by L5, C97, and C100 it is then controlled by on/off switch S1. This 5VDC output supplies the microprocessor logic.

9VAC is applied to pins 6 and 7 of CN7 on the C64 pcb. +12VDC, +5VDC CAN and 9VAC unregulated are outputs that are derived from this 9VAC supply. The 9VAC supply is made available on pins 10 and 11 of the USER PORT CN2.

12VDC Generation
9VAC is added to 9VDC through CR6, and rectified by CR5. The unregulated DC output is filtered by C88 and C89 then regulated at 12VDC by VR1. The regulated output is filtered by C57 and C59. The 12VDC supplies the VIC and SID IC, and the audio amplifiers.
+5VDC CAN Generation
9VAC is rectified by CR4. The unregulated DC output is filtered by C19, and C95 then regulated at 5VDC by VR2. The regulated output is filtered by C102 and C103. The output called 5VDC CAN is separated and individually filtered into two outputs called Vvid and Vc. Vvid is the 5VDC supply for video circuits, and Vc is the 5VDC supply for the clock circuits.
9VDC Unregulated Generation
CR4 rectifies the 9VAC input. The output is 9VDC unregulated. This supply powers the cassette motor transistor amplifier circuits, and the RF modulator on the C64B version.
[Prev] [Next] [Contents] [Commodore] [Home]
This page has been created by Sami Rautiainen.
Last updated February 11, 1998.