[Prev] [Next] [Contents] [Commodore] [Home]

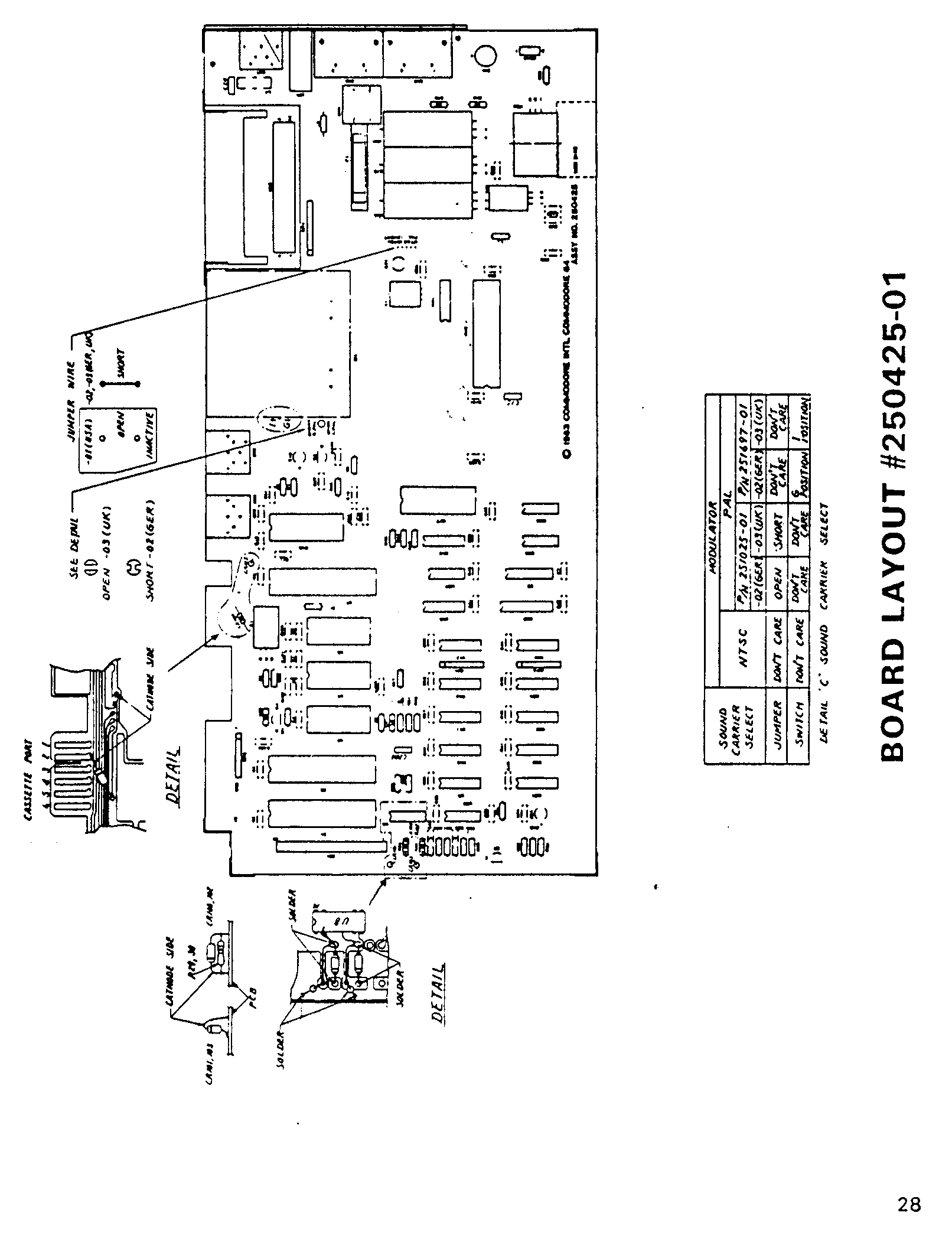
[Board layout #250425-01]


[Prev] [Next] [Contents] [Commodore] [Home]
This page has been created by Sami Rautiainen.
Last updated September 30, 1997.